• Pagina iniziale
  • High Tech
  • Criptovalute
  • Gioco
  • Hollywood
  • Scienza
  • Spazio
  • Auto
  • Sport
  • Mondo

Fujifilm brevetta il sistema di raffreddamento del sensore attivo per fotocamere con IBIS

Fujifilm brevetta il sistema di raffreddamento del sensore attivo per fotocamere con IBIS

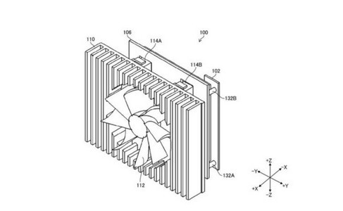
Fujifilm ha depositato un brevetto che descrive un sistema di raffreddamento del sensore attivo che utilizza una ventola e un dissipatore di calore per fotocamere con IBIS (Image Stabilization System).

Tali sistemi di raffreddamento sono comunemente utilizzati su fotocamere con capacità video avanzate: Panasonic GH6 e S1H, Canon EOS R5c e Sony FX3.

Dati dalla domanda di brevetto:

[Richiedente]: Fujifilm Corporation

Quando si registrano filmati di alta qualità per un lungo periodo, il dispositivo di imaging funziona con funzioni di protezione come l'arresto forzato dello scatto per proteggere il dispositivo stesso e la sicurezza del fotografo. A causa di ciò, il progetto può essere interrotto. le riprese non saranno completate in tempo.

Un altro problema che gli ingegneri Fujifilm devono risolvere è creare un sistema di raffreddamento che può essere posizionato nel corpo di un formattatore di immagini con un sistema di stabilizzazione dell'immagine.

Nelle immagini sopra, puoi vedere l'unità di imaging. Ha tre tubi di calore 180A-180C. Sono dispositivi di trasferimento del calore che trasferiscono il calore.

Gli ingegneri vogliono posizionare un sistema di raffreddamento tra il sistema di stabilizzazione e la matrice stessa.

La prossima fotocamera Fujifilm X-H2, secondo la fonte, sarà annunciata contemporaneamente in due versioni. Questa è una mossa non standard per il produttore, quindi solo l'annuncio ufficiale della fotocamera confermerà o negherà queste informazioni.

Tuttavia, al momento, le informazioni su questa fotocamera mirrorless sono le seguenti: Fujifilm X-H2 sarà rilasciata in due versioni: con un sensore da 26 megapixel (BSI CMOS) e un battery grip. Il secondo modello più avanzato si chiamerà Fujifilm X-H2s e una matrice da 40 megapixel. Questa fotocamera, chiarisce la fonte, sarà in grado di registrare video 8K DCI (8192 x 4320). La fotocamera sarà disponibile anche con battery grip.


2022-04-10 05:51:19

Autore: Vitalii Babkin

Precedente | Il prossimo

• Presentato il ciclocomputer Coros Dura con GPS e ricarica solare

• Realme ha lanciato una nuova versione dello smartphone P1 Pro 5G con 12 GB di RAM

• Presentato OnePlus Nord CE4 Lite con batteria da 5500 mAh

• Presentato il tablet Lenovo Tab Plus con sistema audio JBL

• Presentata la TV Hisense S7N CanvasTV 4K QLED

• MSI ha rilasciato il monitor da gioco MAG 27QRF QD E2 Monster Hunter Edition

• AOC ha lanciato il monitor Gaming C27G2Z3/BK con schermo Fast VA e frequenza di 280 Hz

• Samsung, seguendo l'esempio di Apple, ha rinunciato alle ambizioni nel settore dell'auto-pilota

• Nel Regno Unito è stata lanciata una piattaforma per valutare la sicurezza dell'IA

• Un tribunale ha multato Microsoft per 242 milioni di dollari per la violazione di tecnologia nella creazione di Cortana

• Xiaomi ha mostrato il design insolito del telefono Civi 4 Pro

• Il PC compatto GEEKOM Mini Air12 con processore Intel N100 e 16 GB di RAM è stato valutato a 249 dollari

• L'aggiornamento di Apple Watch porta a un'eccessiva rapida scarica della batteria

• Lo smartphone iQOO 12 potrà scattare foto con uno zoom 70x

© 2021-2023 Yoopply Italy - Notizie dal mondo ogni giorno
Deutsch | 日本 | France | Italy | 한국어 | Portugues

Auto | Criptovalute | Gioco | High Tech | Hollywood | Scienza | Spazio | Sport | Mondo | Software

Chi siamo | Politica sulla riservatezza
Facebook | Twitter
Yoopply
40004, Ukraine, Sumska, Sumy, Pratsi str. building 37
Phone: +380958165974
Email: acca.in.ua@gmail.com