• ホームページ
  • 車
  • 暗号通貨
  • ゲーム
  • ハイテク
  • ハリウッド
  • 理科
  • 宇宙
  • スポーツ
  • 世界

ニコンが360°カメラの特許を取得

ニコンが360°カメラの特許を取得

ニコンは、2019年に生産が終了したKeyMissionカメラであまり好意的ではなかった後でも、360°の視野を持つカメラのラインアップの開発を止めるつもりはありません。

ニコンの新しい特許から、同社は360°の視野を持つカメラの分野で開発を続けていることになります。

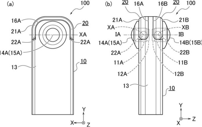
同社のエンジニアは、カメラを使用していないときにカメラの膨らみ(上の画像に表示)を保護する方法を理解する必要があります。

特許出願に含まれる図は、スライド式保護パネル、格納式レンズ、複雑なヒンジ付きパネルのセットなど、保護キャップを取り付けるためのいくつかの異なる方法を示しています。

この開発はまだ非常に初期の段階であり、さらに、ニコンから実際に360度の視野を持つカメラに取り組んでいるという公式の発表はありません。

以前、RolleiはActionOneと呼ばれる予算のアクションカメラをリリースしました。ノベルティには12メガピクセルのセンサーが搭載されており、60fpsまたはFHD1080p120fpsで最大4KUHDのビデオを録画できます。

カメラには170°広角レンズも搭載されています。ノベルティは、5 mの深さまで水中に沈めることができる防水ケース、PD付きのUSB-Cポート、およびさまざまなアクセサリを受け取りました。


2022-04-29 07:48:09

著者: Vitalii Babkin

前 | 次

• GPSとソーラー充電機能を備えたCoros Duraサイクルコンピューターが発表されました

• リアルミは12GBのRAMを搭載した新しいP1 Pro 5Gスマートフォンを発売

• OnePlus Nord CE4 Liteが5500mAhバッテリーで登場

• JBLオーディオシステムを搭載したLenovo Tab Plusが発表

• Hisense S7N CanvasTV 4K QLEDが発表されました

• MSIがゲーミングモニターMAG 27QRF QD E2 Monster Hunter Editionを発売

• AOCは280HzのFast VA画面を搭載したGaming C27G2Z3/BKモニターを発売

• SamsungはAppleに続き、自動運転の野心を断念しました

• 英国でAIのセキュリティ評価プラットフォームが開始

• 裁判所が、Cortanaの作成時における技術の盗用でMicrosoftに2億4200万ドルの罰金を科しました

• Xiaomiが異例のデザインを持つCivi 4 Proの携帯電話を披露

• インテルN100プロセッサと16GBのRAMを搭載したコンパクトPC、GEEKOM Mini Air12の価格が249ドルで評価されました

• Apple Watchのアップデートによってバッテリーの急速な消耗が引き起こされています

• iQOO 12スマートフォンは70倍ズームで写真を撮影できる予定

© 2021-2023 Yoopply 日本 - 毎日の世界のニュース
Deutsch | 日本 | France | Italy | 한국어 | Portugues

車 | 暗号通貨 | ゲーム | ハイテク | ハリウッド | 理科 | 宇宙 | スポーツ | 世界 | ソフトウェア

私たちに関しては | 個人情報保護方針
Facebook | Twitter
Yoopply
40004, Ukraine, Sumska, Sumy, Pratsi str. building 37
Phone: +380958165974
Email: acca.in.ua@gmail.com